Another sailing search term came in – mirror dinghy boom vang options
I usually term the boom vang as the downhaul as opposed to the two other devices for trimming the shape of the mainsail, the outhaul and the cunningham. The outhaul pulls out on the clew towards the free end of the boom and flattens the foot of the sail to reduce power as the wind gets up. The cunningham tightens the luff for a fresh breeze, and it is loosened in very low winds. The important thing is to get the mainsail into a smooth and even shape with no folds.
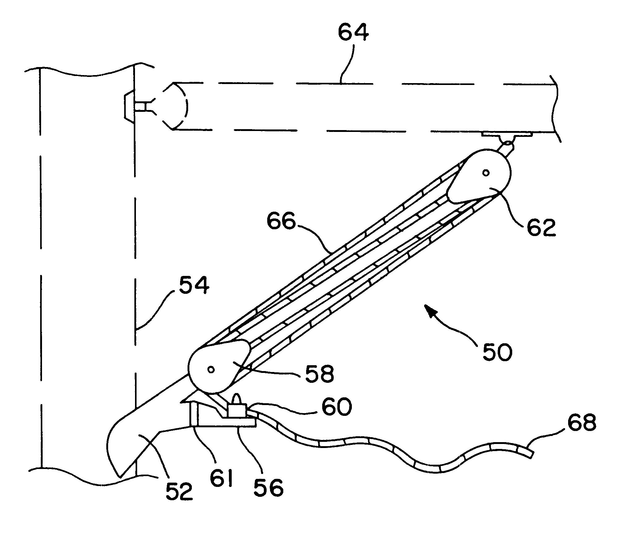
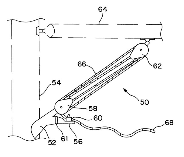
64 – boom, 58 and 62 – pulleys, 66 – rope, 54 – mast, 50 – air (!), 52 – rigid tang, 61 – hinge, 56 – cleat mounting, 60 – cleat, 68 – end of rope.
According to United States Patent 6520103,
A boom vang system for sailboats has a rear facing pivotal cam cleat arm hingedly connected to a rigid tang on the sailboat mast. When the boom vang rotates off the centerline of the boat, as for instance will occur when the boat is sailing downwind and the boom and sail are blow off the centerline of the boat, the pivotal connection of the cam cleat arm, to the tang allows for the cam cleat to be urged into alignment with the sailor regardless of his position on the boat. The cam cleat arm may rotate along an arc lying in a plane substantially parallel to the boat deck. Sheeves and pulleys may be rigidly connected to the rigid tang to prevent tangling of lines.
It’s quite long-winded, but the idea is to prevent the boom being pulled upwards as the mainsail fills with wind when the boat is running with the wind. It is drawn tight for close-hauling and let out a little for reaching and running. Experience gives the sailor the best trim for each point of sail in all weather conditions.
The Mirror downhaul is fixed to a shackle at a point near the boat’s keel in a line more or less downwards from the axis of the mast. This point is standard on all Mirror dinghies. The point on the boom is marked by a wedge-shaped wooden block on the topside, and the downhaul has a loop which engages on this wooden block and exerts force downwards and towards the mast.
The more vertical the force, the less there needs to be a complex pulley system. The Mirror downhaul is more vertical than the 45° on most boats. The angle can be shallower if the downhaul is attached to the mast above the boat’s deck, but a higher pulley tackle ratio will be needed (4 to 6 times). For example on a Laser set up for serious racing (we see the complex outhaul and cunningham systems included in the schema):
I see little need to talk of options as the two points of force are standard on the Mirror dinghy, and any convenient pulley and cleating system can be used.


